Future of Driving
There’s never been a more exciting time for the automotive industry. We’re on the cusp of a revolution, and technology is about to transform the way we drive forever. Artificial Intelligence looks set to bring us cars that can think, react, entertain us and drive themselves altogether. But what exactly are the biggest companies in the business drawing up right this second? Take a look below.

Sticky Car Coating

Toyota
Aerocar

Jaguar Landrover
Facial Recognition Door Unlocking

Ford
Inflatable Bumper

Ford
A 'Batpod Motorcycle'

Ford
Windshield Movie Screen

Ford
Robotic Cameraman

Ford
Roof Airbag

Ford
Heat Generated Graphics

Mercedes-Benz
Tyre Coolers

Amazon
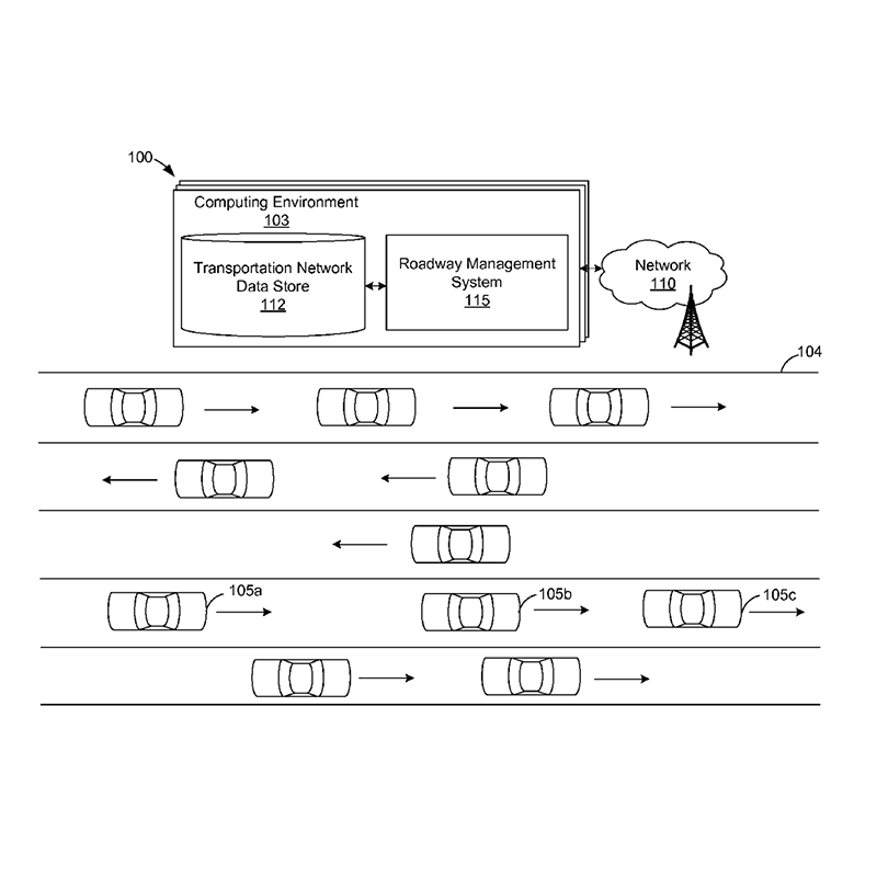
Lane Assignments

Apple
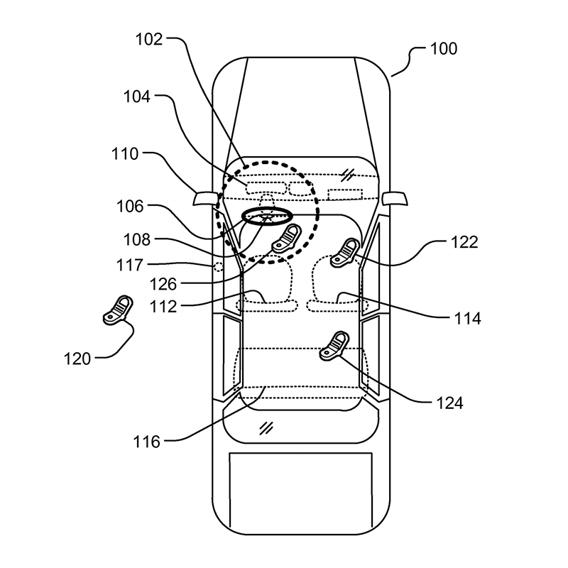
iPhone Car Keys

Apple
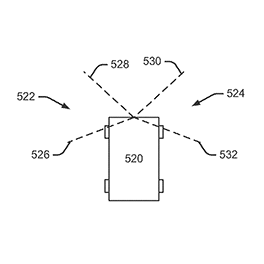
Collision Avoidance System

Toyota
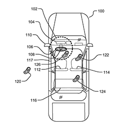
In Car Personal Trainer

Yamaha
Amphibious Car

Ford
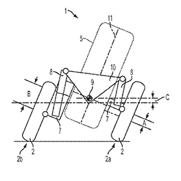
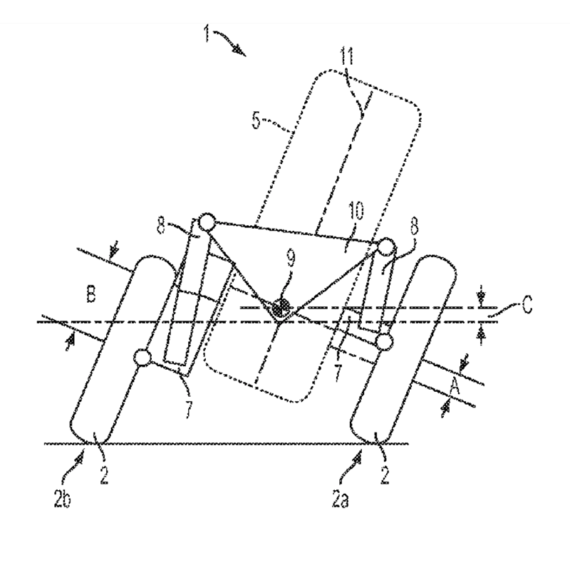
Laterally Tiltable Car

Ford
Foldable Minimalist Car

Jaguar Landrover
Dance Gesture Vehicle Unlocking

Hyundai
Mobile Phone Disabler

Honda
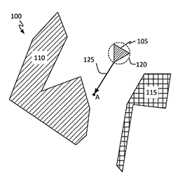
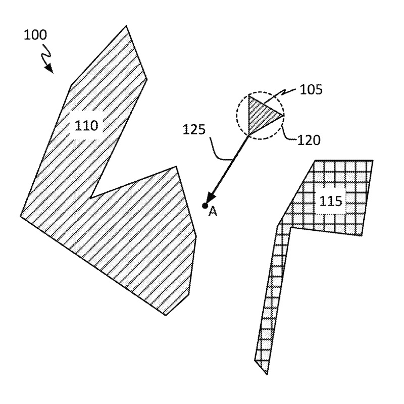
Multiple Pedestrian Detection

Hyundai
Speed Bump Dectection

Ford
Predicting Movements Based on Body Language

Volkswagen
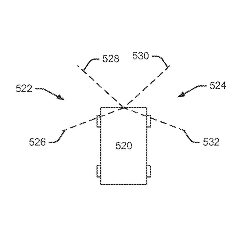
Self-driving with Driver Controls Option

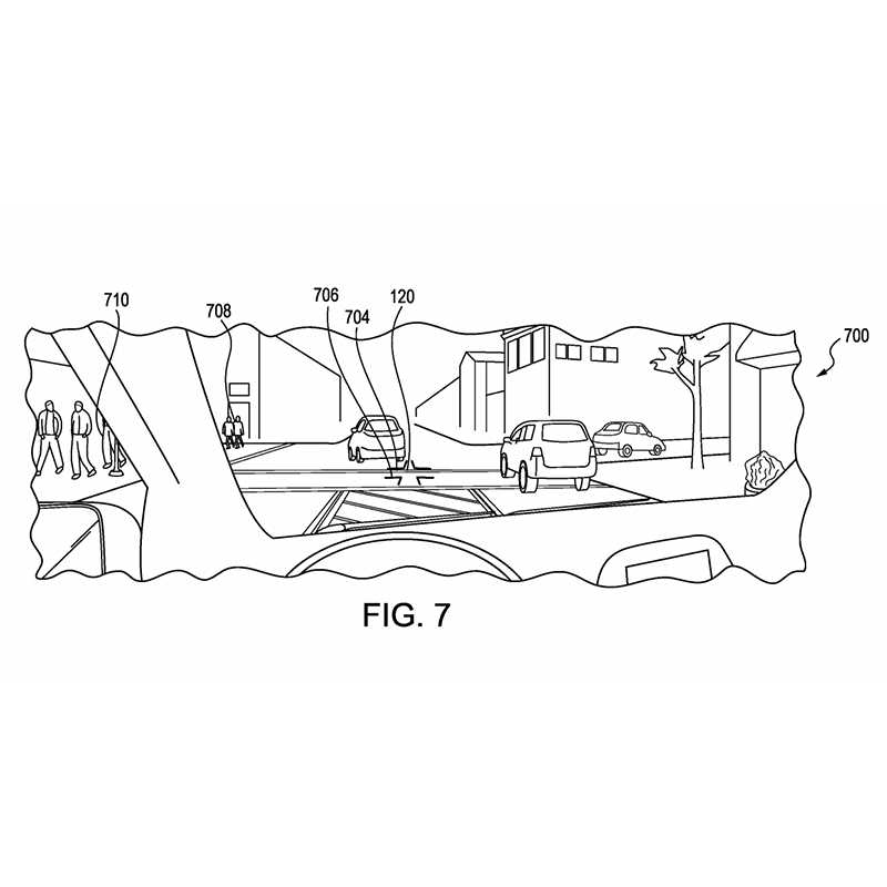
Real-time Emergency Vehicle Detection
It’s hard to say how many of these mind-blowing patents will ever come to full fruition. Regardless, at the rate technology and artificial intelligence are advancing, we can be sure that the car of tomorrow looks and drives very differently to today.























